Catalogues / ISUZU / NNR85 EURO6 / 00
00 - Moteur, émissions, électricité moteur.

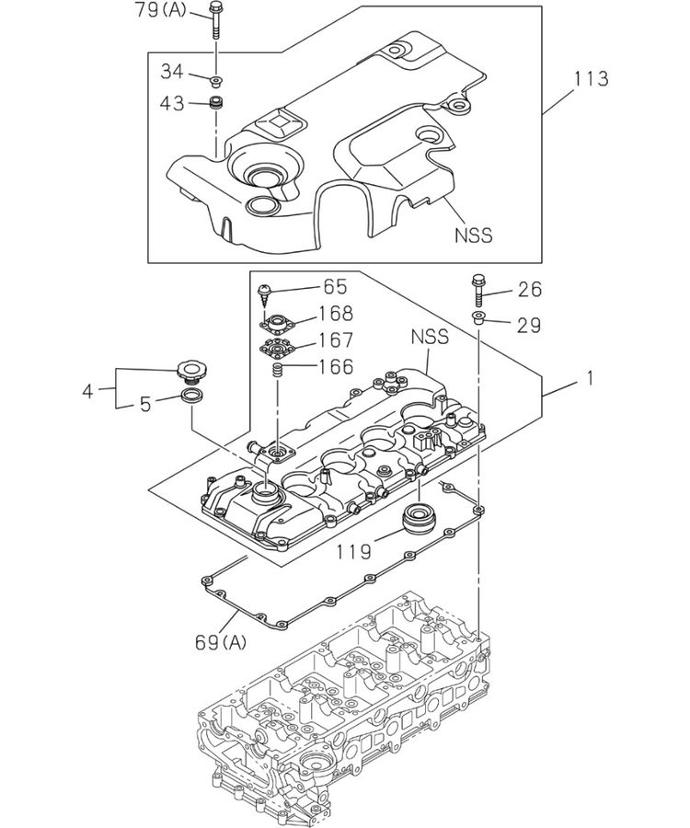
1 : 8982200022 - Couvercle complet, culasse (1)
4 : 8941332075 - Bouchon de remplissage d'huile (1)
5 : 8941236231 - Joint (1)
26 : 0286506300 - Vis M6 x 30, culasse (15)
29 : 8971682001 - Douille de fixation, culasse (15)
34 : 8980361200 - Bague caoutchouc (5)
43 : 8980361190 - Caoutchouc support, couvercle (5)
65 : 8983045190 - Vis M5 x 10, adaptateur culbuteur (4)
69(A) : 8981812000 - Joint de couvercle de culasse (1)
79(A) : 0280508200 - Vis M8 x 20, couvercle de culasse (5)
113 : 8982253060 - Couvercle de culasse moteur (1)
119 : 8980375430 - Joint d'injection, couvercle de culasse (4)
166 : 8973659980 - Ressort, ventilation culasse (1)
167 : 8982261011 - Membrane, ventilateur (1)
168 : 8973659920 - Cache, ventilateur (1)

1 : 8982703782 - Culasse (1)
2 : 8982613110 - Joint de culasse (1)
3(A) : 8982010190 - Vis M11 x 114, culasse (18)
4 : 8942394230 - Guide 42 mm, valve de culasse (16)
5(A) : 8973113780 - Joint, mécanisme de valve, entrée (8)
5(B) : 8973113790 - Joint, mécanisme de valve, échappement (8)
7(A) : 5112190080 - Pastille d'étanchéité, diamètre 18 mm (7)
7(B) : 5112190110 - Pastille d'étanchéité, diamètre 14 mm (2)
7(C) : 8972334290 - Pastille d'étanchéité, diamètre 8 mm (1)
7(D) : 8973331200 - Pastille d'étanchéité, diamètre 24 mm (5)
10 : 8982384240 - Bougie de préchauffage BOSCH (4)
11 : 8980143350 - Connecteur de bougies (1)
39 : 8973291291 - Goupille de centrage (26)
91 : 8982094672 - Conduite de chauffage (1)
123 : 0280508200 - Vis M8 x 20, couvercle de culasse (3)
155 : 0583306100 - Vis M6 x 10 (8)
172 : 8982120200 - Plaque déflecteur, culasse (1)
192 : 8973688530 - Écrou M4, bougie de préchauffage (4)
221(A) : 0280506300 - Vis M6 x 30 (8)
221(B) : 1090440740 - Vis M8 x 85 (21)
224 : 0911802080 - Écrou M8 (4)
225 : 8980170620 - Goujon M8 x 15,5, 33,5 mm (2)
230 : 1096390340 - Joint, douille d'injecteur (4)
244 : 9081505100 - Centreur 5 x 10, joint de culasse (1)
262 : 8982432260 - Cache latéral, culasse moteur (1)
263(A) : 0280508600 - Vis M8 x 60 (1)
263(B) : 0286508350 - Vis M8 x 35 (3)

1 : 8982909800 - Ensemble bloc moteur (1)
7 : 9096640010 - Bouchon, vidange d'eau (1)
8 : 8944326420 - Vis M14 x 89 (10)
13 : 8944533440 - Centreur diamètre 14 mm, culasse (2)
23(A) : 5112190080 - Pastille d'étanchéité, diamètre 18 mm (2)
23(B) : 1096000122 - Pastille d'étanchéité, diamètre 32 mm (4)
23(D) : 8970365501 - Pastille d'étanchéité, diamètre 45 mm (3)
38 : 8971354230 - Centreur 10 x 20 (2)
45 : 8971762300 - Capteur pression huile (1)
51 : 8943362920 - Joint, capteur pression d'huile (1)
52 : 8983397320 - Raccord fileté, capteur pression d'huile (1)
61(C) : 9098785970 - Centreur 31 mm, bloc moteur (2)
103 : 8944695960 - Raccord fileté, alimentation d'huile (1)
211(A) : 0286508250 - Vis M8 x 25 (9)
211(D) : 0280808800 - Vis M8 x 80 (5)
213 : 9095714100 - Joint pour raccord fileté (1)
352 : 9095661090 - Joint, entre bloc et carter moteur (1)
399 : 8973121081 - Capteur, position de vilebrequin (1)
400 : 8973694040 - Joint, capteur (1)
401 : 0280506160 - Vis M6 x 16 (1)

1 : 8982079320 - Ensemble bac d'huile (1)
2 : 8981127771 - Jauge de niveau d'huile (1)
3 : 8941583280 - Joint de bouchon vidange (1)
4 : 8943168000 - Bouchon M14 x 14, vidange (1)
8 : 8981176472 - Conduite, jauge niveau d'huile (1)
9 : 8979125350 - Joint diamètre 11 mm, conduite d'huile (1)
10 : 0280508160 - Vis M8 x 16 (1)
24 : 0911802080 - Écrou M8 (2)
25(A) : 8979450220 - Goujon M8 x 20, 31 mm, carter d'huile (2)
27 : 8982020451 - Carter moteur (1)
43 : 8982133670 - Plaque, carter moteur (1)
69 : 0280508160 - Vis M8 x 16 (4)
109 : 8973288790 - Capteur, niveau d'huile (1)
110 : 8980481910 - Joint, capteur d'huile (1)
112 : 0286506300 - Vis M6 x 30, culasse (2)
154 : 8973863800 - Bride de fixation, faisceau moteur (1)
216 : 0280508120 - Vis M8 x 12 (3)
345 : 0280508160 - Vis M8 x 16 (17)
346 : 8972110110 - Bride, capteur d'huile (1)
363 : 8973814860 - Fixation, capteur d'huile (1)

2 : 8982889612 - Arbre à cames, côté admission (1)
3 : 8982889642 - Arbre à cames, côté échappement (1)
4 : 8980169730 - Soupape d'admission (8)
5 : 8980169741 - Soupape d'échappement (8)
44 : 8982246260 - Vis hexagonale M6 x 25 (14)
53 : 8982711050 - Arbre culbuteur (2)
65 : 8942395010 - Entretoise, séparation (32)
66 : 8981479450 - Pion d'extrémité de soupape (16)
68 : 8973116690 - Ressort de soupape (8)
71(A) : 8980170670 - Butée supérieure de ressort de soupape (16)
71(B) : 8971445840 - Butée inférieure de ressort de soupape (16)
72 : 8973286470 - Joint guide de soupape (16)
78 : 8982361980 - Levier de culbuteur (16)
81 : 8980254970 - Vis M8, réglage de culbuteur (16)
83 : 9098445740 - Écrou M8, vis de réglage (16)
226 : 8982048890 - Ressort, compresseur, culbuteur (8)
362 : 8982253811 - Pièce de fixation (6)

1 : 8982735900 - Vilebrequin (1)
10 : 8973879640 - Palier de vilebrequin, grade 1 (5)
10 : 8973879650 - Palier de vilebrequin, grade 2 (5)
10 : 8973879660 - Palier de vilebrequin, grade 3 (5)
10 : 8973879670 - Palier de vilebrequin, grade 4 (5)
10 : 8973879680 - Palier de vilebrequin, grade 5 (5)
10 : 8980535760 - Palier de vilebrequin, grade 9 (5)
10 : 8980535780 - Palier de vilebrequin, grade 0 (5)
12(B) : 8980296110 - Volant moteur (1)
14 : 8981651250 - Rondelle, poulie de vilebrequin (1)
28 : 8981549452 - Engrenage de vilebrequin, 44 dents (1)
34 : 9081605100 - Goupille de pignon de vilebrequin (1)
38(B) : 8973861622 - Rondelle, volant moteur (1)
40 : 8944180500 - Vis M13 x 45 de volant moteur (8)
42(A) : 8980407040 - Cale, vilebrequin (2)
43 : 8981652341 - Vis M10 x 90 (6)
48 : 8942016410 - Clavette de vilebrequin (1)
56 : 8981549431 - Poulie, amortisseur de vilebrequin (1)
61 : 8973622152 - Poulie d'entraînement (1)
63 : 8982098652 - Piston, grade A (4)
63 : 8982098662 - Piston, grade B (4)
63 : 8982098672 - Piston, grade C (4)
68 : 8982497150 - Kit segments de piston, standard (4)
73 : 8973582340 - Coussinet de bielle, standard (4)
83 : 8980151931 - Axe de piston, standard (4)
84 : 8973889213 - Kit bielle complète (4)
85 : 8973830660 - Bague de bielle (4)
86 : 8980485380 - Vis M11 x 45, pallier de bielle (8)
87 : 9081605080 - Axe d'extrémité de bielle (8)
126 : 8944606870 - Circlip d'axe de piston (8)
100 : 8980296121 - Plateau d'entraînement de volant, 138 dents (1)
172 : 8981636930 - Rotor, capteur vilebrequin (1)
204 : 9081605080 - Axe d'extrémité de bielle (1)

1 : 8982118980 - Carter de distribution (1)
2 : 8982408290 - Carter de volant moteur (1)
32 : 8981811981 - Joint entre boîte de vitesse et bloc moteur (1)
36(A) : 0280508200 - Vis M8 x 20, couvercle de culasse (12)
36(B) : 0280508600 - Vis M8 x 60 (1)
36(C) : 0280508350 - Vis M8 x 35, carter de boîte (1)
36(D) : 0286508250 - Vis M8 x 25 (1)
36(E) : 0286508350 - Vis M8 x 35 (3)
36(F) : 0280508450 - Vis M8 x 45 (2)
36(G) : 0280508160 - Vis M8 x 16 (1)
38 : 8971354230 - Centreur 10 x 20 (2)
49 : 8979452980 - Joint, carter de boîte (1)
50 : 8973548082 - Goujon M8 x 27, M8 x 14, longueur 64,5 (6)
51 : 8973546971 - Vis M6 x 28,5 (14)
54 : 8982537001 - Cache, carter de boîte de vitesses (1)
62(A) : 0286506200 - Vis M6 x 20 (4)
68 : 8982452260 - Cache, couvercle de carter de boîte (1)
79 : 8980889431 - Pièce de fixation, couvercle de carter de boîte (1)
80 : 0911802060 - Écrou M6 (2)
81(A) : 0491408300 - Goujon M8 x 30, longueur 48 (2)
81(B) : 0410106160 - Goujon M6 x 16, longueur 25 (2)
98 : 0911802080 - Écrou M8 (3)
99 : 8983369830 - Goujon M8 x 30, longueur 41 (3)
103 : 8981581100 - Joint spi de vilebrequin (1)
123 : 8981581450 - Cache, distribution (1)
124 : 0280506160 - Vis M6 x 16 (3)
133 : 0911802080 - Écrou M8 (2)
134 : 0410108200 - Goujon M8 x 20, longueur 32 (2)
510 : 8982517641 - Pompe à dépression (1)
517(A) : 9095662710 - Joint, pompe à vide (1)
620 : 8973288282 - Joint de carter de boîte, grade A (1)
620 : 8973316312 - Joint de carter de boîte, grade B (1)
620 : 8973316322 - Joint de carter de boîte, grade C (1)
621 : 0911802080 - Écrou M8 (3)

1 : 8972298220 - Caoutchouc droit, support moteur (1)
1 : 8972298230 - Caoutchouc gauche, support moteur (1)
2 : 8973815131 - Support gauche, moteur (1)
2 : 8973815142 - Support droit, moteur (1)
17 : 8972298251 - Cache pour caoutchouc gauche (1)
17 : 8973837961 - Cache pour caoutchouc droit (1)
20(A) : 0286510200 - Vis M10 x 20 (1)
20(B) : 0286510250 - Vis M10 x 25 (2)
20(C) : 0286510350 - Vis M10 x 35 (1)
20(D) : 0280510700 - Vis M10 x 70 (1)
20(E) : 0286510300 - Vis M10 x 30 (3)
22(A) : 0911801120 - Écrou M12 (2)
22(B) : 8980469870 - Écrou M12 (2)

1 : 8982330633 - Collecteur d'admission (1)
7 : 8982840810 - Joint de collecteur d'admission (1)
13(A) : 0280558120 - Vis M8 x 120 (1)
13(B) : 0280558150 - Vis M8 x 150 (1)
13(C) : 8980815070 - Vis M8 x 66 (1)
20 : 0911802080 - Écrou M8 (2)
27 : 8980170630 - Goujon M8 x 71, longueur 83 (2)
184 : 8980969680 - Joint de boîtier papillon (1)
373 : 8975193011 - Boîtier papillon (1)
619 : 8981216971 - Capteur de pression moteur (1)
731 : 0583306500 - Vis allen M6 x 50 (4)
779 : 0280506120 - Vis hexagonale M6 x 12 (2)
784 : 1097400320 - Goupille D4 x 12 (2)

1 : 8975167201 - Collecteur d'échappement (1)
2 : 8982297820 - Joint de collecteur d'échappement (1)
3(A) : 8982319920 - Dispositif de protection de chaleur (1)
15 : 8980321580 - Vis hexagonale M10 x 30 (4)
18 : 8973816170 - Écrou M10 (4)
19 : 8980484460 - Goujon M10 x 70, longueur 83 (4)
21(A) : 0280508120 - Vis M8 x 12 (2)
33 : 5095000130 - Rondelle plate M10 (8)
58(C) : 8973780620 - Goujon M8 x 25, longueur 36 (1)
64 : 8971616070 - Écrou M8 (1)
233 : 8980309550 - Capteur d'échappement (1)

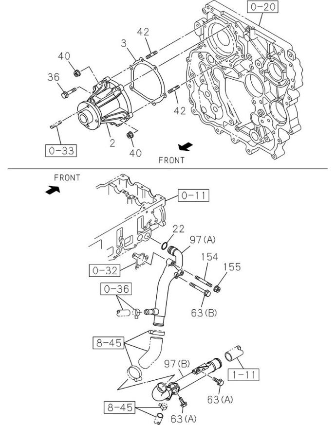
2 : 8982120682 - Pompe à eau complète (1)
3 : 8973121560 - Joint de pompe à eau (1)
22 : 0956902260 - Joint, diamètre intérieur 26,2 (1)
36 : 0280508600 - Vis M8 x 60 (4)
40 : 0911802080 - Écrou M8 (2)
42 : 0410108280 - Goujon M8 x 28, longueur 40 (2)
63(A) : 0280508160 - Vis M8 x 16 (2)
63(B) : 0280508700 - Vis hexagonale M8 x 70 (1)
97(A) : 8982377731 - Tuyau de conduite de refroidissement (1)
97(B) : 8981529962 - Tuyau de conduite de refroidissement (1)
154 : 0410108350 - Goujon M8 x 35, longueur 47 (2)
155 : 0911802080 - Écrou M8 (2)

1(A) : 8982841330 - Thermostat (1)
49 : 8981599131 - Sortie de conduite de refroidissement (1)
50(A) : 0286508300 - Vis hexagonale M8 x 30 (2)
58 : 8983199550 - Bouchon, filetage PT1/8 (2)
66 : 8981145870 - Joint de thermostat (1)
112 : 0280508120 - Vis M8 x 12 (1)

22(A) : 8942215190 - Collier de durite, diamètre 15,5 (4)
22(B) : 8973756390 - Collier de durite, diamètre 11 (1)
23 : 8980751270 - Joint de tuyau d'aspiration (1)
29 : 8981209170 - Clip de durite, diamètre 11 (1)
138 : 8983170780 - Conduite d'eau (1)
160 : 0911802060 - Écrou M6 (2)
198 (A) : 0280506120 - Vis hexagonale M6 x 12 (2)
216(A) : 8980749820 - Durite, conduite d'eau (1)
216(B) : 8981133360 - Durite, conduite d'eau (1)
216(C) : 8981176621 - Durite, conduite d'eau (1)

1 : 8982441391 - Ventilateur moteur, diamètre 450 (1)
8 : 8982432441 - Embrayage, ventilateur moteur (1)
13 : 5094400040 - Écrou M6 (4)
24(A) : 0286508250 - Vis M8 x 25 (1)
24(B) : 0281510200 - Vis hexagonale M10 x 20 (2)
26 : 8943897640 - Vis hexagonale (04)
36 : 8980031870 - Courroie de ventilateur (1)
36 : 5876102630 - Courroie de ventilateur (1) BVP
47(A) : 8982030271 - Support de fixation de ventilateur (1)
47(B) : 8980747511 - Support de fixation de ventilateur (1)
71(A) : 0286508300 - Vis hexagonale M8 x 30 (1)
71(B) : 8980501300 - Vis hexagonale M8 x 50 (1)
75 : 8973815701 - Fixation pour poulie intermédiaire (1)
80(A) : 8980398161 - Bride de réglage, courroie de ventilateur (1)
81 : 8971320480 - Vis de réglage (1)
109 : 0410106180 - Goujon M6 x 18, longueur 27 (4)
126 : 8973719031 - Poulie intermédiaire, ventilateur (1)
162 : 0280510450 - Vis hexagonale M8 x 45 (1)
218 : 8980455820 - Cache, poulie intermédiaire (1)
230 : 8973302070 - Hélice de ventilateur (1)
234 : 0911801080 - Écrou M8 (1)
349 : 8973862400 - Bouchon, poulie intermédiaire (1)
350 : 0410108180 - Goujon M8 x 18, longueur 30 (1)

1 : 8975167220 - Ensemble turbocompresseur (1)
2 : 8944336050 - Joint de turbocompresseur (1)
11 : 8971616070 - Écrou M8 (2)
12 : 8973780620 - Goujon M8 x 25, longueur 36 (2)
71(A) : 8980550622 - Flexible entre admission et turbocompresseur (1)
71(B) : 8980365132 - Flexible entre admission et turbocompresseur (1)
143(A) : 8981333480 - Collier pour flexible d'admission (4)
309 : 8980435280 - Vis hexagonale M8 x 28 (2)
389 : 8980365051 - Tuyau entre admission et turbocompresseur (1)

16 : 8981270623 - Tuyau d'injection 1 (1)
17 : 8981270633 - Tuyau d'injection 2 (1)
18 : 8981270643 - Tuyau d'injection 3 (1)
19 : 8981270653 - Tuyau d'injection 4 (1)
31 : 8980879851 - Injecteur complet (4)
59 : 8981136910 - Support d'injecteur (4)
66(A) : 8981815400 - Joint d'injecteur, diamètre intérieur 7,1 mm (4)
166 : 9095661110 - Joint d'injecteur (4)
279(A) : 8970322540 - Collier de durite, diamètre 7 mm (1)
279(B) : 8943929240 - Collier de durite, diamètre 16 mm (4)
279(C) : 8944788750 - Collier de durite, diamètre 18,9 mm (2)
279(D) : 8970388000 - Collier de durite, diamètre 16 mm (1)
279(E) : 8973756380 - Collier de durite, diamètre 11,5 mm (2)
281 : 8981716220 - Clip de fixation (2)
313 : 8982120211 - Vis hexagonale M8 x 85, avec rondelle (4)
348(A) : 8980892850 - Durite, conduite de carburant 1 (1)
348(B) : 8980976710 - Durite, conduite de carburant 2 (1)
348(C) : 8980976722 - Durite, conduite de carburant 3 (1)
348(D) : 8982404590 - Durite, conduite de carburant 4, longueur 100 (1)

1(A) : 8981241075 - Filtre à carburant, complet (1)
1(B) : 8981697380 - Filtre à carburant, séparateur (1)
2(A) : 8975425400 - Cartouche de filtre à carburant (1)
2(B) : 8980374810 - Filtre à carburant (1)
2(B) : 5876101570 - Filtre à carburant (1) BVP
11 : 8982036000 - Joint pour filtre à carburant (1)
92(A) : 8980343140 - Bouchon de filtre à carburant (1)
92(B) : 8971725480 - Bouchon de filtre à carburant (1)
93(A) : 8980343120 - Connecteur M8 x 10, sur filtre à carburant (1)
93(B) : 8971725461 - Connecteur sur filtre à carburant (1)
114 : 8980399871 - Cuve de filtre à carburant (1)
119(A) : 8980370950 - Bouchon de vidange, filtre à carburant (1)
119(B) : 8976034560 - Bouchon de vidange, filtre à carburant (1)

1 : 8982704970 - Ensemble refroidisseur et filtre à huile (1)
2 : 8980188580 - Cartouche de filtre à huile (1)
2 : 5876101181 - Cartouche de filtre à huile (1) BVP
3 : 8980247080 - Joint de filtre à huile (1)
5 : 8980188620 - Cuve de filtre à huile (1)
7 : 8980188460 - Bouchon d'axe de filtre à huile (1)
8 : 1096230550 - Joint de filtre à huile, diamètre intérieur 9,8 (1)
9 : 1096235000 - Joint d'axe de filtre à huile (1)
10 : 8980188500 - Ressort de filtre à huile (1)
11 : 8980188470 - Axe de fixation de filtre à huile (1)
20(A) : 8943967530 - Bouchon de refroidisseur d'huile (1)
20(B) : 8981339780 - Bouchon de refroidisseur d'huile (3)
21(A) : 8981330600 - Joint de bouchon de refroidisseur d'huile (1)
21(B) : 8981339790 - Joint de bouchon de refroidisseur d'huile (3)
40 : 8980747460 - Joint entre carter moteur et refroidisseur (1)
67(C) : 8981330590 - Joint de valve de refroidisseur (1)
68 : 9132630100 - Bouchon de valve de refroidisseur (1)
76(A) : 0280508700 - Vis hexagonale M8 x 70 (2)
76(B) : 0286508350 - Vis M8 x 35 (12)
76(C) : 0280508900 - Vis hexagonale M8 x 90 (2)
76(E) : 0280508200 - Vis M8 x 20, couvercle de culasse (1)
362 : 0911802080 - Écrou M8 (2)
365 : 8981330610 - Cache de protection de filtre à huile (1)
374 : 0410108200 - Goujon M8 x 20, longueur 32 (2)
495 : 8980188530 - Bague de filtre à huile (1)

1 : 8982326241 - Pompe à huile (1)
29(A) : 0280508300 - Vis hexagonale M8 x 30 (4)
29(B) : 0280508450 - Vis M8 x 45 (2)
49(A) : 0280508160 - Vis M8 x 16 (2)
139 : 8981490350 - Conduite, crépine d'huile (1)
140 : 8973561500 - Joint de crépine d'huile (1)

29(A) : 0280508100 - Vis hexagonale M8 x 10 (1)
29(B) : 8971172981 - Vis hexagonale M6 x 20 (4)
57 : 8973121323 - Tuyau, gicleur d'huile (1)
58 : 8982853340 - Valve de conduite, gicleur d'huile (1)
89(A) : 9095208350 - Bride de fixation, conduite d'huile (1)
89(B) : 8970818160 - Bride de fixation, conduite d'huile (1)
131 : 0911801080 - Écrou M8 (1)
332 : 8982017850 - Tuyau d'huile, bloc moteur (1)
338 : 5096750181 - Vis à œil M8 x 20 (2)
339 : 8980659920 - Joint de conduite d'huile (2)
499 : 8973816613 - Raccord de tuyau de dépression (1)
500(A) : 8981176630 - Tuyau de dépression (1)
500(B) : 8982093040 - Tuyau de dépression (1)

1 : 8974824540 - Valve EGR (1)
2(A) : 8973780770 - Vis hexagonale M8 x 23 (3)
12(A) : 0911801080 - Écrou M8 (1)
15(A) : 8973780620 - Goujon M8 x 25, longueur 36 (2)
15(B) : 0410108250 - Goujon M8 x 25, longueur 37 (2)
16(B) : 9040208650 - Goujon M8 x 65, longueur 81 (1)
16(C) : 0402108250 - Goujon M8 x 25, longueur 41 (2)
17(B) : 8980632841 - Joint inférieur, valve EGR (1)
17(C) : 8981415621 - Joint supérieur, valve EGR (2)
17(E) : 8980175510 - Joint supérieur, valve EGR (1)
139(A) : 8973695610 - Fixation de faisceau, diamètre 7 (1)
139(B) : 8981171770 - Fixation de faisceau (1)
197 : 8973521510 - Valve, commande à dépression (1)
472(C) : 0280508160 - Vis M8 x 16 (4)
681 : 0911802080 - Écrou M8 (4)
718 : 8982016832 - Refroidisseur EGR (1)
747 : 0911801080 - Écrou M8 (2)
779 : 1143190340 - Rondelle M8 (2)

1 : 8980254123 - Câble de batterie, 280 mm (1)
3(A) : 8983300101 - Faisceau électrique (1)
30 : 0911105080 - Écrou M8 (1)
31 : 0915108080 - Rondelle M8 (1)
37 : 8980425070 - Bouchon, câble batterie (1)
42(B) : 8973295990 - Vis hexagonale M6 x 16 (1)
58 : 8981412561 - Vis hexagonale M8 x 24 (1)
112(A) : 8973657710 - Borne de batterie (1)

2(A) : 8980557861 - Carter, pignon de démarreur (1)
7(A) : 8982221000 - Ensemble pignon de démarreur NPR85 (1)
9(A) : 8970256740 - Roulement, pignon de démarreur (1)
9(B) : 8970256760 - Roulement, démarreur (1)
9(C) : 8970256730 - Roulement, pignon de démarreur (1)
10(A) : 8971797720 - Arbre de pignon de démarreur (1)
16(A) : 8971922990 - Armature de démarreur (1)
17(A) : 8970256760 - Roulement, démarreur (1)
17(B) : 8970303870 - Roulement, démarreur (1)
20(A) : 8980552960 - Charbon de démarreur (2)
21 : 8942420640 - Ressort pour charbon de démarreur (4)
22(A) : 8980552980 - Support de charbon de démarreur (1)
23(A) : 8982461850 - Cache arrière, démarreur (1)
27(A) : 8971924230 - Axe de fixation, démarreur (2)
28(A) : 8971797760 - Levier de démarreur (1)
31(A) : 8983225490 - Contacteur de démarreur (1)
32(A) : 5811290690 - Caoutchouc de contacteur (1)
38(A) : 8971157630 - Joint de couvercle de démarreur (1)
45(A) : 8944355670 - Entretoise d'entraînement de démarreur (1)
45(B) : 8971797740 - Bride d'entraînement de démarreur (1)
50(A) : 8980552970 - Charbon de démarreur (2)
54(A) : 8982221010 - Embrayage, pignon de démarreur (1)

1 : 8978284320 - Carter arrière d'alternateur, complet (1)
2(A) : 8982738160 - Rotor d'alternateur (1)
3(A) : 8982511130 - Roulement, alternateur (1)
3(B) : 8982738170 - Roulement, alternateur (1)
6 : 8982738250 - Régulateur de tension d'alternateur (1)
10 : 8982738230 - Redresseur, alternateur (1)
17(A) : 8982738130 - Carter avant d'alternateur, complet (1)
19(A) : 8982738290 - Poulie d'alternateur (1)
22 : 8982738190 - Stator, alternateur (1)
27 : 8982738240 - Écrou de redresseur, alternateur (1)
29 : 8982738260 - Charbon d'alternateur (1)
Vous ne trouvez pas ?
Vous pouvez nous contacter pendant les horaires d'ouvertures du lundi au vendredi de 8:00 à 12:00 et de 13:45 à 18:00.
TRUCKS ARENA
31 Avenue de la Roche Parnale, 74130 Bonneville, France.
04 50 97 06 26



